Kartenschatten
IBA knowledge - Flächenplanung, © t_kimura / iStock 183856569
Zurück zur Themenübersicht

Flächen addieren

Arbeitsplatzflächen

Die Mindestgröße für einzelne Arbeitsplätze wird durch Addition verschiedener Einzelflächen ermittelt. Basis sind die flächenbezogenen Anforderungen der Arbeitsstättenverordnung (ArbStättV) und der einschlägigen ASR sowie ergänzende Erläuterungen der DGUV Information 215–441 „Büroraumplanung“. Zu berücksichtigen sind demnach folgende Flächen:

Infoblock Symbol

Alle Angaben auf dieser Seite beruhen auf den in Deutschland gültigen Regularien. Anforderungen in anderen Ländern können davon abweichen.

Arbeitsflächen am persönlichen Arbeitsplatz

In Ziffer 6.1, Absatz 6 des Anhangs zur ArbStättV heißt es: „Die Arbeitsflächen sind entsprechend der Arbeitsaufgabe so zu bemessen, dass alle Eingabemittel auf der Arbeitsfläche variabel angeordnet werden können und eine flexible Anordnung des Bildschirms, des Schriftguts und der sonstigen Arbeitsmittel möglich ist. Die Arbeitsfläche vor der Tastatur muss ein Auflegen der Handballen ermöglichen.“

Mindestanforderungen

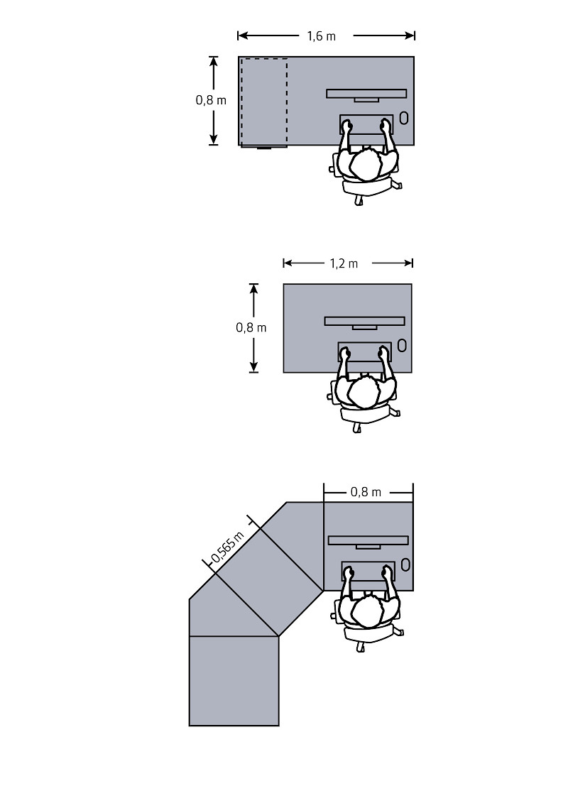
  • Ausreichend groß ist die Arbeitsfläche, wenn sie mindestens 1,28 m² (z. B. 160 × 80 cm) beträgt. Die Tiefe der Arbeitsfläche muss mind. 80 cm betragen.
  • In Ausnahmefällen, wenn wenige Unterlagen benötigt werden und/oder kaum wechselnde Tätigkeiten anfallen, darf die Fläche auf ein Maß von 120 × 80 cm reduziert werden.
  • Die Fläche des Arbeitstischs darf sich aus mehreren Einzelflächen zusammensetzen. Diese müssen aber eine zusammenhängende Gesamtfläche ergeben. Die Addition der Arbeitsflächen abseitsstehender Tische oder Arbeitsplatten in dritter Ebene ist nicht zulässig.
  • An verketteten Arbeitsplätzen oder an Tischen mit einer Freiformplatte müssen die Arbeitsflächen so gestaltet sein, dass mindestens ein Arbeitsplattensegment von 80 × 80 cm vorhanden ist. Für konkave Radien gilt R ≥ 400 mm. Die dem Nutzer zugewandte Kante von Verkettungselementen muss mindestens 56,5 cm breit sein.
  • Unabhängig von der Plattenform muss unter dem Tisch ein freier Beinraum von mind. 85 × 80 cm gegeben sein. Rollstuhlfahrer benötigen eine freie Beinraumbreite von ≥ 90 cm. Aus ergonomischen Gründen ist für alle Nutzer eine freie Beinraumbreite von ≥ 120 cm empfehlenswert.
  • Unabhängig von der Plattenform muss unter dem Tisch ein freier Beinraum von mind. 85 × 80 cm gegeben sein. Rollstuhlfahrer benötigen eine freie Beinraumbreite ≥ 90 cm. Aus ergonomischen Gründen ist für alle Nutzer eine freie Beinraumbreite ≥ 120 cm empfehlenswert.

Stellflächen von Einrichtungsgegenständen

Gemäß ASR A1.2 sind sie „die Bodenflächen, die für Arbeitsmittel (z. B. Roh‑, Hilfs- und Betriebsstoffe, Produkte des jeweiligen Arbeitsschrittes, Arbeitsstühle, Arbeitswagen, Werkzeugcontainer, Hebemittel), Einbauten, Einrichtungen und sonstige Gegenstände (z. B. Abfälle) benötigt werden, unabhängig davon, ob diese den Boden berühren oder nicht.“ Anders ausgedrückt: Weil Nutzer- und Wegeflächen nicht nur am Boden frei sein müssen, sondern in ganzer Höhe, müssen bei der Planung auch überkragende Tischplatten oder Pflanzenäste berücksichtigt werden.

Infoblock Symbol

Unser Tipp: Setzen Sie die Erkenntnisse gleich in die Planung Ihres perfekten Büros um. Das ist mit dem IBA OfficePlaner jetzt ganz einfach. Probieren Sie unseren neuen Online-Büroplaner gleich mal aus.

Bewegungsflächen am Arbeitsplatz

Die Definition nach ASR A1.2 lautet: „Bewegungsflächen sind zusammenhängende unverstellte Bodenflächen am Arbeitsplatz, die mindestens erforderlich sind, um den Beschäftigten bei ihrer Tätigkeit wechselnde Arbeitshaltungen sowie Ausgleichsbewegungen zu ermöglichen.“

Mindestanforderungen

Die Bewegungsflächen an regelmäßig genutzten Arbeitsplätzen müssen mindestens 1,50 m² groß sein. (Zu den regelmäßig genutzten Arbeitsplätzen zählen auch solche, die aufgrund von Abwesenheit der Nutzer nur teilweise genutzt werden.)

Die Form der Bewegungsfläche ist nicht vorgegeben. Bewegungsflächen können eher breit oder eher tief, rechteckig oder gebogen sein. Sie muss jedoch immer eine Mindestbreite von 1,00 m aufweisen und

  • für Tätigkeiten im Sitzen mindestens 1,00 m tief sein,
  • für Tätigkeiten im Stehen mindestens 1,00 m tief sein,
  • für Tätigkeiten in stehender, nicht aufrechter Körperhaltung mindestens 1,20 m tief sein.

Rollstuhlfahrer benötigen eine Bewegungsfläche von 1,50 × 1,50 m. Dies gilt insbesondere dann, wenn ein Umsetzen aus dem Rollstuhl auf den Arbeitsstuhl möglich sein soll. Wenn der Arbeitstisch in Tiefe und Breite gut unterfahrbar ist, darf die Tiefe der Bewegungsfläche auf 1,20 m reduziert werden. Bei nebeneinander angeordneten Arbeitsplätzen ohne räumliche Trennung darf darüber hinaus auch die Breite der Bewegungsfläche auf 1,20 m reduziert werden. Die Erreichbarkeit der Arbeitsplätze muss uneingeschränkt gegeben sein.

Zulässige Überlagerungen

Die freie Bewegungsfläche am persönlich zugewiesenen Arbeitsplatz darf nur von den folgenden Flächen überlagert werden:

  • Von der Stellfläche des Arbeitsstuhls
  • Von der Benutzerfläche dieses Arbeitsplatzes
  • Von dem Verbindungsgang zu diesem Arbeitsplatz
  • Temporär von den Funktionsflächen der Möbel dieses Arbeitsplatzes (z. B. Auszüge von Containern, Türen von Schränken)

Voraussetzung ist, dass durch die Überlagerungen keine Quetsch- und Scherstellen entstehen.

Freie Bewegungsflächen benachbarter Arbeitsplätze dürfen sich grundsätzlich nicht überlagern!

Benutzerflächen am Arbeitsplatz

Die Bewegungsflächen gemäß ASR A1.2 sind, wie es der Name schon sagt, dafür da, dass sich die Nutzerinnen und Nutzer an ihren Arbeitsplätzen frei bewegen können. Sie sagen aber noch nichts über die Nutzbarkeit der Arbeitsmittel aus. Hier kommen die Benutzerflächen ins Spiel. Die nachfolgenden Anforderungen sind als spezifische Anforderungen an Büro-Arbeitsplätze nicht in der überwiegend allgemein formulierten ASR A1.2 enthalten. Als arbeitswissenschaftliche Erkenntnisse im Sinne der ArbStättV sind sie bei der Planung von Büroarbeitsplätzen dennoch zu berücksichtigen.

Mindestanforderungen

Die Benutzerfläche muss über die gesamte Breite des Arbeitstisches mindestens 1,00 m tief sein.

Zulässige Überlagerungen

Benutzer- und Bewegungsflächen eines Arbeitsplatzes überlagern sich naturgemäß zu großen Teilen. Für weitere zulässige Überlagerungen gelten die Angaben im Abschnitt Bewegungsflächen sinngemäß.

Hinweis

Im Anhang der DGUV Information 215–441 wird der Zusammenhang von Bewegungs- und Benutzerflächen anhand einiger Beispiele dargestellt.

Funktionsflächen von Möbeln

Laut ASR A1.2 sind Funktionsflächen „die Bodenflächen, die von beweglichen Teilen von Arbeitsmitteln, Einbauten und Einrichtungen überdeckt werden“. Dies sind z. B. Auszüge von Containern oder Schränken sowie Flügeltüren an Schränken.

Größe der Möbelfunktionsfläche

Diese wird durch das Möbel selbst vorgegeben.

Zulässige Überlagerungen

Grundsätzlich dürfen sich Möbelfunktionsflächen weder mit den Funktionsflächen weiterer Möbel noch mit anderen Flächenarten überlagern. Zulässige Ausnahmen sind Überlagerungen

  • mit der freien Bewegungsfläche eines Arbeitsplatzes, soweit das Möbelstück ausschließlich diesem Arbeitsplatz zugeordnet ist,
  • mit der Benutzerfläche dieses Arbeitsplatzes,
  • mit den Funktionsflächen anderer Möbel dieses Arbeitsplatzes,
  • mit dem Verbindungsgang zu diesem Arbeitsplatz.

Voraussetzung ist, dass durch die Überlagerungen keine Quetsch- und Scherstellen entstehen.

Benutzerflächen vor Schränken

Wie an den Arbeitstischen werden auch vor anderen Möbeln Flächen zu deren Benutzung benötigt. Dies gilt insbesondere für Schränke.

Mindestanforderungen

Benutzerflächen erstrecken sich jeweils über die gesamte Breite des Möbels. Die Tiefe hängt von der Art des Möbels ab:

  • Bei Regalen und Schränken mit Rollladen, Schiebe- oder Flügeltüren: 80 cm (bei einer Nutzung durch Rollstuhlfahrer: 90 cm)
  • Bei Möbeln mit Hängeregistratur: Tiefe der Funktionsfläche + 50 cm Sicherheitsabstand (mindestens jedoch 80 cm; bei einer Nutzung durch Rollstuhlfahrer sollte die erforderliche Tiefe im Rahmen einer Gefährdungsbeurteilung ermittelt werden)

Zulässige Überlagerungen

Benutzerflächen dürfen grundsätzlich nicht verstellt oder von anderen Flächen überlagert werden. Zulässige Ausnahmen sind Überlagerungen

  • mit dem Verbindungsgang zu einem Arbeitsplatz, soweit das Möbelstück ausschließlich diesem Arbeitsplatz zugeordnet ist,
  • mit den Benutzerflächen anderer Möbel (z. B. von Schränken), soweit alle betroffenen Möbel nur gelegentlich und nicht gleichzeitig genutzt werden,
  • mit einem nur gelegentlich genutzten Verkehrsweg.

Verkehrswegeflächen

Eine Übersicht über die Anforderungen an Verkehrs- und Fluchtwege finden Sie im Kapitel Verkehrswege.

Die DGUV Information 215–441 „Büroplanung“ steht als PDF kostenfrei auf der Internetseite der DGUV zur Verfügung.