Kartenschatten
IBA knowledge - Flächenplanung, © t_kimura / iStock 183856569
Back to the topic overview

Adding Up Floor Space

Workspace Areas

The minimum size of individual workstations is determined by adding up various partial areas. This is based on the spatial requirements set out in the German Workplace Ordinance (ArbStättV), the relevant ASR guidelines, and additional explanations provided in DGUV Information 215–441 “Office Space Planning”. The following areas must be taken into account:

Infoblock Symbol

All information on this page is based on regulations applicable in Germany. Requirements in other countries may differ.

Working Areas at Personal Workstations

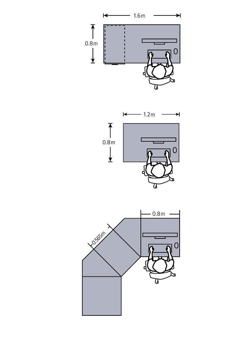
Section 6.1, paragraph 6 of the ArbStättV annex states: “Work surfaces must be dimensioned according to the work task, allowing for flexible arrangement of input devices and a flexible layout of the screen, documents, and other work equipment. There must be sufficient space in front of the keyboard to rest the palms.”

MINIMUM REQUIREMENTS

  • A work surface is sufficiently large if it covers at least 1.28 m² (e.g. 160 × 80 cm). The depth must be at least 80 cm.
  • Exceptionally, if few documents are needed and work tasks rarely change, the surface may be reduced to 120 × 80 cm.
  • The worktop area may consist of multiple segments, but they must form one continuous surface. Separate tables or elevated surfaces may not be added together.
  • For linked desks or free-form tables, there must be at least one segment measuring 80 × 80 cm. For concave radii, R ≥ 400 mm applies. The user-facing edge of linking elements must be at least 56.5 cm wide.
  • Regardless of the desk shape, there must be a free legroom area of at least 85 × 80 cm. Wheelchair users require at least 90 cm width. For ergonomic reasons, 120 cm width is recommended for all users.
IBA Knowledge - Personal workstation

Space for Furnishings

According to ASR A1.2, these are “floor spaces required for work equipment (e.g. materials, products, chairs, carts, containers, lifting aids), fixtures, furnishings, and other items (e.g. waste), regardless of whether they touch the floor or not.” In other words, because user and circulation areas must be clear in full height, overhanging table surfaces or plants must also be taken into account.

Infoblock Symbol

Our Tip: Use these insights to start planning your perfect office. It’s easy with the IBA OfficePlanner. Try out our new online tool now.

Movement Areas at the Workplace

ASR A1.2 defines movement areas as: “Unobstructed, connected floor areas at the workstation that allow workers to change posture and make compensatory movements during tasks.”

MINIMUM REQUIREMENTS

Movement areas at regularly used workstations must be at least 1.50 m². (This includes workstations that are only partially used due to absences.)

The shape can vary (e.g. wide or deep, rectangular or curved), but must always be at least 1.00 m wide and:

  • At least 1.00 m deep for seated tasks
  • At least 1.00 m deep for standing tasks
  • At least 1.20 m deep for semi-standing tasks

Wheelchair users require a movement area of 1.50 × 1.50 m. This is particularly important if the user is to transfer from the wheelchair to an office chair. If the desk is sufficiently accessible underneath in terms of depth and width, the depth of the movement area may be reduced to 1.20 m. Where workstations are arranged side by side without spatial separation, the width of the movement area may also be reduced to 1.20 m. In all cases, unrestricted access to the workstations must be ensured.

IBA Knowledge - workplace - movement areas

PERMISSIBLE OVERLAPS

Movement areas at assigned desks may only be overlapped by:

  • The footprint of the office chair
  • The user area of that workstation
  • The access path to the workstation
  • Temporarily by functional furniture zones (e.g. drawer units, cabinet doors)

Provided that no pinch or crush points are created.

Movement areas of adjacent desks must not overlap.

User Areas at the Workplace

The movement areas defined in ASR A1.2 are, as the name suggests, intended to ensure that users can move freely at their workstations. However, they do not provide any information about the usability of work equipment. This is where user areas come into play. The following requirements are not explicitly included in the generally worded ASR A1.2 as specific requirements for office workstations. Nevertheless, as occupational science findings within the meaning of the Workplace Ordinance (ArbStättV), they must be taken into account when planning office workstations.

MINIMUM REQUIREMENTS

User areas must be at least 1.00 m deep across the full width of the desk.

PERMISSIBLE OVERLAPS

User and movement areas of the same workstation largely overlap. For other overlaps, the movement area rules apply.

NOTE

The appendix of DGUV Information 215–441 illustrates the relationship between movement areas and user areas using several examples.

IBA Knowledge - workplace - user area

Functional Areas of Furniture

According to ASR A1.2, functional areas are “the floor areas covered by movable parts of work equipment, fixtures and furnishings.” These include, for example, pull-outs from pedestals or cabinets, as well as hinged doors on cupboards.

SIZE OF FUNCTIONAL AREA

Defined by the furniture design.

Cabinets furniture footprint and operating area

PERMISSIBLE OVERLAPS

Basically, furniture functional areas must not overlap with the functional areas of other furniture or with other types of areas. Permitted exceptions are overlaps

  • with the free movement area of a workstation, provided the furniture piece is assigned exclusively to that workstation,
  • with the user area of that workstation,
  • with the functional areas of other furniture at that workstation,
  • with the access route to that workstation.

The prerequisite is that no crushing or shearing points are created by these overlaps.

User Areas in Front of Cabinets

Like desks, other furnishings such as cabinets require user space in front. This applies especially to cabinets.

MINIMUM REQUIREMENTS

User areas extend the full cabinet width. Depth depends on the cabinet type:

  • Shelving and cabinets with roller, sliding or hinged doors: 80 cm (90 cm for wheelchair users)
  • Hanging file storage: depth of the functional area plus 50 cm safety clearance (at least 80 cm; if used by wheelchair users, the required depth should be determined as part of a risk assessment).
Cabinets furniture footprint and safety distance

PERMISSIBLE OVERLAPS

User areas must generally not be obstructed or overlapped by other surfaces. Permissible exceptions are overlaps

  • with the access route to a workstation, provided the furniture piece is assigned exclusively to that workstation,
  • with the user areas of other furniture (e.g. cabinets), as long as all affected furniture is used only occasionally and not simultaneously,
  • with a traffic route that is used only occasionally.

Circulation Space

For an overview of requirements for circulation and escape routes, see the chapter on Circulation Routes.

DGUV Information 215–441 “Office Planning” is available as a free PDF from the DGUV website.